Logo
Hilfeone-pixLogo
one-pixHomeTutorialsLiteraturIndexMap
 
3
one-pix
Tutorials > IP 1 - Übertragungstechnik beim Ethernet > Versuchsaufbau für Gruppe 1 (Thick Ethernet)
zurück zum vorherigen Schrittweiter zum nächsten Schritt
one-pix
one-pix
one-pix

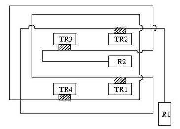
Versuchsaufbau für Gruppe 1 (Thick Ethernet)

 
Das Experimental-Ethernet der Gruppe 1 ist vom Typ 10Base5 und befindet sich im Raum D.7 rechts vom Fenster. Es enthält vier Transceiver TR1, TR2, TR3 und TR4 die untereinander mittels eines dicken Koaxialkabels (gelb) verbunden sind (siehe Abbildung 3.1). An den Enden des Koaxialkabels (50 Ω) befinden sich die Abschlußwiderstände R1 und R2 (jeweils 50 Ω). Am Transceiver TR1 können die Signale auf dem Koaxialkabel abgegriffen werden.
Was ist das fuer ein Label?
one-pix
Abbildung 3.1:Ethernet-Experimentalnetz (Gruppe 1)
one-pixone-pix
 

Schaltkasten des Meßaufbaues

 
Unterhalb des Versuchsaufbaus ist ein Schaltkasten montiert. An diesen sind die beiden Transceiver TR1 und TR2 über das AUI angeschlossen. Der Schaltkasten wiederum ist mit dem AUI-Ausgang der Netzkarte im PC verbunden. Abbildung 3.2 zeigt die drei Teile des Schaltkastens:
 
  • Schalter für Controller und Transceiver
  • Signale des Attachment Unit Interface (AUI)
  • Signale des MAC-PLS-Interface (im Versuch nicht verwendet)
Was ist das fuer ein Label?
one-pix
Abbildung 3.2:Schaltenkasten
one-pixone-pix
 

Schalter für Controller und Transceiver

Tabelle 3–1: Schalter für Controller und Transceiver (Gruppe 1)
SchalterFunktion
1zur Trennung der Kollisionssignale zwischen Transceiver und Controller
  • Stellung oben: Kollisionssignale erreichen den Controller
  • Stellung unten: Kollisionssignale erreichen den Controller nicht
one-pix
2zur Erzeugung von Kollisionen
  • Stellung oben: keine Kollisionen
  • Stellung unten: künstliches Hervorrufen von Kollisionen
    (Transmit-Data-Signale sind auf Transceiver TR1 und TR2 geschaltet)
one-pix
3zur Trennung der Transmit-Data-Signale zwischen Controller und Transceiver
  • Stellung oben: Signale durchgeschalt
  • Stellung unten: Signale aufgetrennt
one-pix
4Umschalten der Transmit-Data-Signale zwischen TR1 und TR2
  • Stellung oben: Transmit-Data-Signale auf TR1 geschaltet
  • Stellung unten: Transmit-Data-Signale auf TR2 geschaltet
one-pix
5zur Trennung der Receive-Data-Signale zwischen Transceiver und Controller
  • Stellung oben: Signale durchgeschaltet
  • Stellung unten: Signale aufgetrennt
one-pix
6Umschalten der Receive-Data-Signale zwischen TR1 und TR2
  • Stellung oben: Controller erhält Receive-Data-Signale von TR1
  • Stellung unten: Controller erhält Receive-Data-Signale von TR2
one-pixone-pix
 

Signale des Attachment Unit Interface (AUI)

 
Die Schnittstelle AUI ermöglicht eine hardwaremäßige Trennung der beiden Komponenten Transceiver und Controller. Das AUI stellt die Schnittstelle zwischen den beiden Teilschichten Physical Medium Attachment PMA (entspricht dem Transceiver) und Physical Signaling PLS (auf dem Ethernet-Controller in der Teilnehmerstation) der OSI-Schicht 1 dar.
one-pixone-pix
 

Kurzbeschreibung des Oszilloskops (Tektronix)

Was ist das fuer ein Label?
one-pix
Abbildung 3.3:Frontansicht des Oszilloskops
one-pixone-pix
 

Allgemeines und Bildschirmanzeige

 
Der Anschluß externer Signale an das Vertikalsystem des Oszilloskops erfolgt über die Eingangsbuchsen CH1 bis CH4 (Abb. 3.3, Feld 9). Entsprechend der gewählten Buchse müssen die Tasten im MODE-Feld für das Vertikalsystem Kanal 1 und 2 leuchten (Abb. 3.3, Feld 4). Hierbei existieren zwei Sonderfunktionen:
 
  • Bei gedrückter Taste ADD erhält man die Summe der Kanäle 1 und 2 angezeigt.
  • Drückt man zusätzlich die Taste CH2 INVERT, so zeigt das Oszilloskop die Differenz von Kanal 1 und Kanal 2.
 
Die meisten der betätigten Tasten und eingestellten Werte werden in einer Zeile am oberen oder unteren Bildschirmrand angezeigt. Im folgenden wird auf das entsprechende Rasterquadrat der jeweiligen Zeile verwiesen.
one-pixone-pix
 

Vertikalsysteme

 
Durch die Regler POSITION UP-DOWN werden die Signale vertikal auf dem Bildschirm bewegt.
one-pixone-pix
 

Vertikalsystem für Kanal 1 und 2

 
Die Ablenkfaktoren (Einheit: Volt) werden über die jeweiligen VOLTS/DIV-Regler (Abb. 3.3, Feld 4) eingestellt, wobei sich der VAR-Regler in Anschlagposition ganz rechts befinden muß (man erhält so kalibrierte Einstellwerte).
 
Über die Tasten COUPLING AC--DC werden die Kopplungsarten der Eingangssignale gewählt:
 
  • AC: zwischen Eingang und der vertikalen Ablenkung wird ein Kondensator zwischengeschaltet, wodurch niedere Frequenzen bis ca. 10 Hz unterdrückt bzw. abgeschwächt werden (kapazitive Kopplung, Zeichen ~).
  • DC: die Eingangssignale werden unmittelbar mit dem Vertikalsystem verbunden, so daß die vollständige Bandbreite der Signale der Ablenkeinheit des Gerätes zugeführt wird (Zeichen =).
  • GND: es ist keine der beiden o.g. Kopplungsarten gewählt, d.h. der Eingang ist geerdet und es wird infolgedessen kein Signal angezeigt (Zeichen: umgedrehtes T).
one-pixone-pix
 

Vertikalsystem für Kanal 3 und 4

 
Für Kanal 3 und 4 können nur die beiden Ablenkfaktoren 0.1 und 0.5 Volt über die Tasten VOLTS/DIV gewählt werden (Abb. 3.3, Feld 7).
one-pixone-pix
 

Horizontalsystem

 
Die Regler und Tasten des Horizontalsystems (Abb. 3.3, Feld 6) sind für alle vier Kanäle anwendbar. Durch die Regler POSITION LEFT-RIGHT können die Signale horizontal bewegt werden. Durch den Regler A and B SEC/DIV läßt sich der Zeitablenkungsfaktor (Einheit: Sekunden) einstellen, wobei sich der VAR-Regler in Anschlagposition ganz rechts befinden muß, um quantifizierbare Aussagen über den Signalverlauf machen zu können (kalibrierte Werte). Die Taste X10 MAG bewirkt eine Spreizung der dargestellten Zeitablenkung um Faktor 10.
 
Für das horizontale Ablenkungssystem ist im Normalfall im MODE-Feld die Betriebsart A zu wählen.
one-pixone-pix
 

Lupenfunktion

 
Mit der Lupenfunktion kann ein Teil B des Signals A gesondert betrachtet werden. Wählen Sie hierzu ALT im MODE-Feld des Horizontalsystems, eine niedrige Intensität am Regler A INTEN und eine hohe Intensität am Regler B INTEN. Der Teilabschnitt B ist im ursprünglichen Signal A intensiv hervorgehoben. Mit dem Regler TRACE SEP wird der herausgenommene Signalteil B vertikal bewegt, wobei bei gleichbleibender Horizontalablenkung zunächst die beiden Signale A und B identisch sind. Der Abschnitt B wird mit A and B SEC/DIV vergrößert bzw. verkleinert. Die Horizontalablenkung bezieht sich bei eingeschalteter Lupenfunktion immer auf den herausgenommenen Teil B.
 
Hinweis
Günstige Werte für die Horizontalablenkung sind 0.1 μsec oder 0.2 μsec; die Anzeige erfolgt im 10. Quadrat von links in der untersten Rasterzeile.
 
Durch den Regler DELAY kann das ganze Signal A abschnittsweise "durchwandert" werden, wobei in der obersten Rasterzeile die Zeitdifferenz zwischen Beginn des Signals A und Beginn des herausgegriffenen Teils B angegeben wird.
one-pixone-pix
 

Deltamessung und AUTO SETUP

 
Die Tasten des MEASUREMENT-Feldes aktivieren die "Deltafunktionen" (Anzeigen von Intervallen auf der Horizontal- bzw. Vertikalachse) (Abb. 3.3, Feld 3). Durch die Regler im Feld CURSORS/TIME POSITION (Abb. 3.3, Feld 5) werden die Intervallgröße und -lage bestimmt, die Taste CLEAR MEAS`MT löscht die Intervallbegrenzungen.
 
Die AUTO SETUP-Taste bewirkt ein automatisches Einstellen einer "brauchbaren" Anzeige. Es empfiehlt sich jedoch diese Taste nicht zu benutzen, da einige vorher betätigte Regler und Tasten neu eingestellt bzw. gelöscht werden (vgl. ..., S. 1-19, Punkt 29).
one-pixone-pix
 

Triggerfunktionen

 
Periodisch Signale darzustellen erfordert, daß die horizontale Ablenkung immer an einem gewissen Punkt des periodischen Signals beginnt. In der Regel erfolgt diese Festlegung (Triggerung) automatisch innerhalb des Gerätes. Ist dies nicht der Fall, so gehen Sie dabei folgendermaßen vor:
 
Wählen Sie, sofern nicht angegeben, bei mehreren Signalen eines aus und stellen Sie zunächst nur dieses auf dem Bildschirm dar. Im Triggerfeld (Abb. 3.3, Feld 8) soll die A/B SELECT-Taste leuchten (A-Mode), im MODE-Menü AUTO, im CPLG-Menü DC und im SOURCE-Menü CH1 eingestellt werden. Anschließend drehen Sie den LEVEL-Regler solange, bis Sie ein korrektes Bild erhalten.
one-pixone-pix
 

Störungssuche

 
Sollte der Bildschirm kein oder ein ungenügendes Signal zeigen, so sind zunächst folgende Punkte zu überprüfen:
 
  • Stimmen Eingangsbuchse und Kanalwahl im Feld MODE des Vertikalsystems überein?
  • Ist eine der beiden Tasten AC--DC gedrückt?
  • Ist das Signal außerhalb des Bildschirms?
 
Nur im NOTFALL ist die AUTO SETUP-Taste zu betätigen!
one-pixone-pixone-pix